
Current Heresy project

Freq. scan stock Heresy

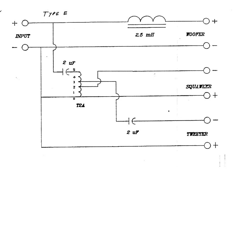
Impedence curve stock crossover. High impedence is due to the autoformer. When
this crossover was designed capacitors were very large and very expensive. The autoformer
allows the use of smaller capaitors and attenuates the more efficent drivers. HOWEVER the
high impedence causes problems with some amps. Especially SET amps

Heresy project from last year

Freq. scan w/crites woofer and B&C DE120 tweeter
